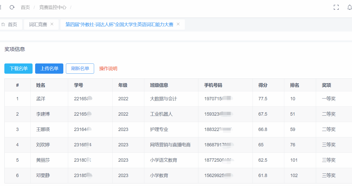
5月26日,第四届“外教社•词达人杯”全国大学生英语词汇能力大赛在线上圆满落幕。本次大赛由中国外语教材与教法研究中心和上海外语教育出版社联合主办,77779193永利官网承办。经过激烈角逐,我校孟洋同学荣获高职组省赛一等奖,李建博和王娜瑛同学荣获省赛二等奖,刘欢婷、黄丽莎、邓雯静荣获省赛三等奖的好成绩!

图片1 大赛由77779193永利官网承办

图片2 我校学生省赛比赛现场

图片3 网络监考其他高校省赛比赛现场的截图节选
自2023年,本赛事已由中国高教学会列入《全国普通高校大学生竞赛分析报告》观察目录。旨在弘扬中华优秀传统文化,向世界讲好中国故事,并通过推动英语词汇学习和测试手段的创新,满足高校大学英语在线教学需求,从而提高大学英语智慧教学水平。历年大赛共吸引了来自全国30个省、市、自治区1300余所高校的313万名学生参加。此次大赛,我校共有700多名学生踊跃报名参赛。入围省赛18名。

图片4 我校学生省赛获奖公布情况
此项比赛,秉持“以赛促教,以赛促学”教学理念,激发学生的大学英语学习兴趣、提高学生自主学习能力。通过赛前英语词汇知识的学习和积累、模拟赛中的热身练习、以及多级正式比赛的实战,学生英语词汇量得到了提高,对于英语词汇的用法掌握得到了巩固,并极大丰富了大学英语第二课堂内容。
图文:舒飞霞
审核:孙卉